注:本文由陜西師范大學物理學與信息技術學院王存義教授(西安菩提高科技有限責任公司,13572905551)供稿,歡迎聯系合作洽談。
一、前言
1.“麥子地里產蒸汽,半年回本并賺利”是確真的事實,見創新點1,絕非開玩笑。所言半年回本后“賺利”多少,請見第4頁計算。本文數據皆出于嚴謹科學計算,保證皆可實現。
2.根據2019年1月的權威刊物《太陽能》月刊報道說:
“我國是工業耗能大國,相關資料顯示,我國工業耗能當中熱能約占53%,雖然不同工業部門的熱能需求不同,但一般不超過250℃。若煙草業、食品加工業、造紙業、紡織業、化工業、木材加工業、塑料業、醫藥業這8個行業的熱能消耗的10%由太陽能提供,則每年節約的能量等于2663萬噸標準煤的燃燒熱,可減排二氧化碳8682萬噸,則全國每一年產值可達1000億元以上。”可見熱能需求市場之大驚人!不唯是供暖、烘干、發電等。
二、產品介紹
本專利發明陽光高熱機是雙軸全天追太陽產熱,可把導熱油加熱到400℃左右,按不同溫度段,一種發明可作成六大類產品:即發電型、供熱型、蒸汽型、供暖型、暖電型和烘干型六種陽光高熱機。它由本人新發明的有專利的五個部件組成,包括自動糾偏器和恒矩精準跟蹤機、同端集熱管及通用液推器,這些都有成功樣品,已通過省政府召開的鑒定會,測量驗收合格。檢測證件見本文后四個附件。還有本人發明的能自動躲暴風的聚光鏡和特殊的機架。它實現了全世界槽式和菲涅爾集熱器無法實現的技術上的三垂直和把現有成本減少60%的高性價比。本發明創造了線聚焦光熱發電領域打破世界記錄的81.4%的光變熱效率(國外的FAHIM.U等專家,也證實了利用雙軸跟蹤太陽聚焦集熱的光學效率為81.3%,比單軸跟蹤時要增高40.9%,由此也證明了我發明的機器的光熱效率達81.4%的正確性!但他們沒有本人發明的陽光高熱機,詳情見第4頁的注)和31%的光變電效率。每天自動跟日產熱最長11小時,折合成標準太陽光強,冬夏平均若至少按6小時計算,則公用型機的產熱功率39千瓦,加發電功率1千瓦共40千瓦。成本兩萬元左右(不含暖電型陽光高熱機的發電部件成本,暖電型機是供暖期產熱供暖,非供暖期變成發電,一機兩用)的一臺機6小時產的熱等于234度電變成的熱,同時還能發6度電,合計240度。
若光伏電站每天產240度電變成熱量,則電站建設成本按最低每瓦4元計算,則需成本16萬元,即用光伏發電產熱的成本,是本發明成本的8倍(計算過程見第5頁)。本機可安裝于房頂、山坡或長有農作物之地等等。
三、九大創新點:
1.不占土地面積,因能種糧和產熱或發電同地而作:
因本發明聚光鏡追太陽產熱時可離地0.4米,陰影不斷移動,糧菜能見陽光而生長;農民下地時它可停在離地1.9米高不動,像電線桿一樣栽在菜地麥地,不影響耕作。特適合給縣城周圍種糧之地安裝,給城鎮供暖,收供暖費30年。
2.發明了恒矩精準跟蹤機和邊緣信號反饋器能自動糾偏的專利產品,解決了全世界現有的各種跟蹤太陽的設備中,存在的跟蹤誤差無法自動全部清除的難題。
3.發明了在雙軸跟日大運動中的裝有工質的管道和外界接通的不動接口,解決了全世界在聚光型太陽高溫利用中,經過四十多年之研究和使用而未解決的難題。他們若作成雙軸追日則對外接口使多臺機器之間的裝有工質的管道,無法實現既能短小輕便而利于維護保熱材料,以使熱損極小,并能使成本極低而又壽命很長的全用硬管連接通。因此全世界線聚焦光熱發電,不能雙軸全方位追日大增效,只能停在一個方向追日作成低效的槽式或菲涅爾式。因接口不動就能用低成本長壽命高保溫免維護碳鋼管,連接各臺機作雙軸高效低成本接力式加熱或發電。
4.發明了同端集熱管,解決了金屬內管和玻璃罩管之間因熱脹冷縮易使玻璃破裂漏氣,因而造成的封裝工藝非常復雜,致使其成本特高的難題。例如,全世界現用幾百座槽式光熱發電站所用集熱管為一根4米長,造價5千元左右。據有個生產廠的報價說在尺寸相同時,本發明造價是槽式光熱發電站的集熱管造價的1/4。但此管子在槽式和菲湦爾式集熱器上無法用。
5.解決了聚光鏡自動躲暴風的難題,保證了機器的安全性。
6.發明了通用液推器,和水泵相比,有成本低、耐高溫、拒腐蝕和大節電之優點。
7.由以上各種技術亮點,造成了本發明的太陽光變熱的最高效率可達81.4%(在標準光強下),和光電效率可達31%。此二數據下文有證明。現在全世界正運行中的三百多座光熱電站中,線聚焦類型中的光變熱效率,根據中國能建集團發布的數據是35%至42%;光變電效率是10%至13%(證據見附件。光伏發電站的系統效率是18%左右。
8.一個顛撲不破的真理就是:產熱或發電效率增加一倍,等于把原來投入的成本減少一半。證明如下:假設原來是一份投入一份產出;產出效率增加一倍后,變成了一份投入兩份產出,亦即一份產出只對應半份成本投入。所以,由于光熱效率和光電效率成倍的提高和同端集熱管的成本的大幅度降低,造成了本發明的總成本,無論在光熱發電或其他各種各樣太陽熱利用方面,都比現有同類的太陽能產品的系統總成本,減少60%左右。
9.根絕火災隱患。本發明徹底解決了全世界現有槽式集熱系統中因不可避免地存在動密封有時漏油,使光熱發電站多次發生火災的世界難題。本發明因無動密封故能保證絕對安全。
四、本發明光變熱效率81.4%和光變電效率31%的證明:
A、本發明能同時滿足下述五個條件,所以能適合下述計算公式(1)和(3)。世界現有槽式、塔式、菲涅爾式和蝶式四種光熱技術(見附件),都不能也不可能同時滿足下述五個條件,故下述計算公式(1)和(3)不能用于它們。這五個條件就是:光線在聚光鏡上的反射率α最大、光線在真空管玻璃罩管的透射率b最大、光線對真空管不銹鋼內管的吸收率最大,換言之,光線對這三者的入射角皆為零;第四和第五條件就是沒有空氣對流散熱和傳導散熱。下述計算公式是:
光變熱效率N1=94%(反射率α)×96%(透射率b)×96%(吸收率c)
×94%(直射光占比d)=81.4%……(1)
其中α和c的值是聚光鏡和真空管生產廠的保證數據,其中b是根據光學教科書所講的在光線垂直入射到玻璃表面時透射率可達96%;其中d是在光照好的地區,直射光可占太陽總輻射的94%。以上是指介質在集熱管出口處測量的效率值。
國外專家FAHIM.U等人的研究也證實了采用雙軸跟蹤太陽聚焦集熱的光學效率為81.3%,比單軸跟蹤時的要增高40.9%,81.3%和我研發出的陽光鍋爐機的81.4%基本相等。由此也證明了我計算結果的正確性。40.9%和中國能建集團發布的槽式電站單軸跟日的年均光熱效率相符合。
B、現用技術槽式和菲涅爾式光熱效率N2計算公式如下:
N2=a cosθ×b cosβ×c cosγ×94%(直射光占比d)=35%~42%(見附件)
……(2)
其中:θ--光線對聚光鏡采光面入射角,0<<θ<90°
β--光線對真空管玻璃罩管外表面的入射角,0<<β<90°
γ--光線對真空管內管的入射角,0<<γ<90°
由此可知,槽式和菲涅爾式技術的a和b及c三個量都有余弦損失,造成了它們的光變熱效率只有35%~42%。例如,b cosβ表示光線在真空管玻璃罩管外表面的一部分屬于可用能量對投射總能量之比值。
另外,不但效率遠高于現用技術,而且每天吸熱時間也是槽式和菲涅爾式的二倍,因它們只停在一個方向單軸追日,每天追日產熱約四、五小時。本發明是雙軸追日全天產熱。
C、光變電效率31%的證明
由附件1知,槽式電站汽輪機熱電效率ξ為38%,由此得陽光高熱機的光變電效率ψ:
ψ=N×ξ=81.4%×38%=31%……(3)
五、陽光高熱機主要構造
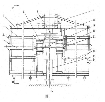
圖1是陽光高熱機的主視剖視圖,圖1中,1是同端集熱管,它不沿高度角轉動,2是連管器,3是掛管桿,4是上邊桿,5是跟日機高度軸,6是不動接口,它是工作介質的進出口,可用鐵質硬管把各臺陽光高熱機的不動接口用靜密封連接通,工質不會泄露,安全可靠,7是載物架,8是載架座,9是高度軸機身,10是包圍高度軸的對外連接器,11是三通管,12是拋物面型聚光鏡,13是跟日機方位軸,14是聚光鏡的骨架,15是連接掛管桿的U型板,它和跟日機的高度軸機身固定連接。本發明用的是本人發明的恒矩精準跟日機,它運載的反光鏡能高能低,當跟蹤太陽產熱時反光鏡可離地40公分。農民下地時,它自動舉起反光鏡離地1.9米不動,不影響操作。
圖2是圖1的左側剖視圖,圖2中,凡是和圖一有相同標記者名稱相同。


【注】證實雙軸跟日效率達81.3%的國外專家是:FAHIMU和KANGM,其論文是:拋物槽式太陽能集熱器雙軸跟蹤系統性能評價[J].《材料科學與工程》,2018,301(1):012166
六、經濟效益:
1、產蒸汽的經濟效益:一臺本機器,全年除陰天雨天外,其余冬夏平均每一天按6.5小時太陽標準光強計算,在兩年內所產蒸汽量,若用電產生相同數量的蒸汽則要用拾萬零陸千伍佰元電費,計算如下:
若一年有光照10個月,則本發明兩年所產蒸汽值多少錢?
(A)當前公認1000公斤水由20℃變為101℃蒸汽,需用電720度(見第6頁證明3),若按工業用電是每度電0.7元/度,則一噸蒸汽所耗電費是:
Q1=720度×0.7元/度=504元。(若按居民用電0.56元/度計算是Q2=403.2元)……(4)
(B)1公斤蒸汽值錢多少?
V1=504元/1000公斤=0.504元/1公斤(若按居民用電是V2=0.4032元/公斤)
……(5)
(C)每年內把陰天雨天除外,其余冬夏平均按每天6.5小時標準光強(1千瓦/1平米)計算,本發明每一天產蒸汽多少?
若采光面積為48平米,則產熱功率是39千瓦,同時有發電功率1千瓦。按6.5小時計算共產熱量是223924千卡,由此可算出每臺機器每天產蒸汽是361.1公斤/1天。
(D)本發明兩年(設每年光照10個月)產蒸汽值錢多少?
φ1=361.1公斤/天×0.504元/1公斤×600天=10.92萬元(居民電φ2=8.74萬元)
……(6)
兩年10.92萬元,半年賣蒸汽應得2.73萬元,相比于一臺機加儲熱箱成本為2.5萬元,半年收回成本并賺利0.23萬元,即賺利2300元。
(E)成本2萬元的一臺蒸汽型陽光高熱機,為什么應該賣也能夠賣得8.6萬元?
既然本發明兩年所產生財富是10萬9千多元(居民電是8萬7千多元),機器壽命30年,購買方只要用不到兩年燒蒸汽的電費買本機1臺,其余28年基本上白用不再花錢,何樂而不為?
批量化生產時,一臺機成本2萬元加儲熱箱合計成本2.5萬元,按照它僅僅兩年即600個6.5小時光照計算,就能產生10萬9千多元(按居民電是創造8萬7千2百元)財富而言,一臺機無論怎么算至少應該賣8.6萬元,毛利潤6萬多元,年產1萬臺毛利潤6億多元。
2、給工業供熱的經濟效益:這和供蒸汽的經濟效益類似,一臺公用型機加上儲熱設備總成本兩萬五千元左右,可賣到八至九萬元,即若一臺機賣9萬元,對電解水造氫廠而言,若把光伏電變成熱量,并與本機一臺所產熱相等,則買本機一臺,如前所證也能節省16萬元。買一臺花9萬元,只相當于本產品在兩年內所創造的財富(10萬零6千元)的一部分。年產一萬臺,毛利潤六億多元。因如前所算,若要把光伏電變成如本機一臺每天產出等于240度電變成的熱量,至少要付出16萬元建電站成本,還未計入把電變為熱的設備費和儲熱箱費。
3、單純供暖的經濟效益(發電部件經濟效益是比固定式光伏發電提高40%發電量):
(A)兩戶一臺型或叫公用型:公用型陽光高熱機功率39千瓦,供暖的年均每天光照小時數和產蒸汽不同,因供暖不包括晝特長的夏季,所以6個月供暖期內平均一天按6小時計
算,6小時所產的熱量加發電量等于240度電所變成的熱量,240度電按西安居民用電是0.56元/度計算,240度電值134元,若一年有300天光照,300個6小時共創財富是4萬多元,可
供給90平米的兩個家庭晝夜取暖(所儲熱量夠三天用。三天以上無太陽時,或加大采光面積和儲熱,或給儲熱箱中裝一個電加熱器備用于偶然應急)。在大批量生產條件下,加上6噸儲熱箱,成本大約2.5萬元左右,由兩個家庭分擔,或由集體分擔。
(B)一戶一臺型(面積120平米):小型陽光高熱機或叫家用型,在大批量生產條件下,大約一臺成本1.6萬元左右,加上3噸儲熱箱約2千元,成本共1.8萬元左右。
高寒地區,例如內蒙古和寧夏等(省),政府給每戶農民作煤改電供暖都要補貼錢。據說寧夏政府給每戶農民付出三萬多元裝暖空調(空氣源熱泵),還要替農民交第一年電費,等于給每戶農民送肆萬元,農民自出叁仟元。第二年后農民自交電費。若換成本發明,一臺小型機賣上五至六萬元,三十年內農民不交電費。本機供暖還能發電,政府和農民皆大歡喜。
(C)綜上所述可見:
(1)集體用的兩戶一臺型:根據內蒙古報價一臺機管兩戶取暖可賣到8萬元。毛利潤5.6萬元左右,年產一萬臺毛利潤5.6億元左右,和前述蒸汽型的利潤差不多。
(2)一戶一臺型:根據內蒙古報價和寧夏自治區(省)給農民送裝暖空調和送第一年電費,等于送肆萬元情況看,一臺管一個家庭供暖可賣到5至6萬元,加上三噸儲熱箱,總成本約1.8萬元/1臺,毛利潤大約4萬元,年產1萬臺,毛利潤大約4億元。
4、光熱發電經濟效益:
本人從1986年正式開始研究太陽能,36年來從未休息過雙休日和寒暑假,每天夜以繼日,廢寢忘食,苦戰攻關。和苦行僧一樣的耐受寂寞而堅韌不拔。有很多發明,陽光高熱機(專利號202020749480.2,發明專利申請號202010384816.4,國際專利申請號PCT/CN2021/091852)是其重大發明之一。如上所述,目前一個10萬千瓦的光熱發電站的建站成本,普遍都需要30億元人民幣,建設期限是2至5年,若用本人新發明的技術,不但成本減少60%,而且施工期限減少一大半!早建成早賺錢,經濟效益驚人!
七、三個證明:
[證明1]光伏供暖成本是本發明供暖成本的8倍,計算如下:
1、一臺機產熱功率為39千瓦計算:
因采光面積為48平方米,光熱效率為81.4%,故一臺機產熱功率為
81.4%×48米2×1千瓦/米2(此為標準光強)=39千瓦……(7)
2.一臺機產熱同時還有發電功率1千瓦計算:
聚光鏡間隙裝有光伏板,面積為3.25米2,光伏組件效率為22%,則不跟蹤太陽時發電功率為:22%×3.25米2×1千瓦/米2(此為標準光強)=0.714千瓦……(8)
把3.25米2光伏板裝到本跟日機,因陽光始終垂直照射至少使功率增加40%,故功率增量為:
0.714千瓦×40%=0.286千瓦,……(9)
所以在產熱功率為39千瓦的同時,還有發電功率為:
(0.714+0.286)千瓦=1千瓦----即一臺機產熱加發電總功率40千瓦。……(10)
3.功率40千瓦光伏電站的建設成本是多少?
光伏電站不算上網變壓器的成本,則每瓦成本至少是4元/瓦,40千瓦成本為:
40×1000瓦×4元/瓦=16萬元。……(11)
由此證明在功率相等時,光伏產熱成本是本發明的8倍。
[證明2]一臺大型暖電型陽光高熱機在非供暖期,每天6小時(標準光強)發電多少?
總面積51.25米2=(48+3.25)米2,光伏組件發電效率22%,追日增效40%,由此得每一天6小時標準光強發電量為:
22%×51.25米2×1千瓦/米2×(1+40%)×6小時=94.7度(千瓦小時)電≈95度電
……(12)
[證明3]公認為產一噸蒸汽需720度電,其水的初溫是多少?
可先求出720度電百分之百的變成熱量是620095.7千卡,然后求出1公斤水分得的熱量是620.1千卡/1公斤,已知水的汽化熱是539千卡/1公斤,由此得
620.1千卡-539千卡=81.1千卡≈81千卡……(13)
由此證得若蒸汽終溫是101℃,則水的初溫是20℃。
八、附件:
1.中國能建集團發布的《光熱發電技術路線選擇》
2.陜西省工信廳頒發的新產品新技術驗收合格證書
3.權威部門對跟日機、自動糾偏儀和液推器三項專利的樣機的檢驗報告封面
4.檢驗報告第1頁
5.檢驗報告第3頁(對跟日機等三項樣機檢驗結論)
這是每一臺機器產蒸汽半年回本,還有2300元利潤的投資小、見效快的高新技術朝陽產業,歡迎合作實施。
發明人:王存義教授
電話:135 7290 5551
單位:西安菩提高科技有限責任公司/陜西師范大學物理學與信息技術學院
本發明拋開了全世界光熱發電五十年未變的如下四種技術,創造了光變熱效率為81%和光變電效率為31%的世界記錄,遠超過線聚焦世界現有技術的光熱效率為42%和光電效率13%的公認數據,全世界300座光熱發電站現狀如下:
【附件】1:中國能建集團發布的【光熱發電技術路線選擇】

【附件】2:

【附件】3:此報告包括了對自動跟日機、糾偏器和液推器的檢測結論。

【附件】4:

【附件】5:此頁證明了自動跟日機、自動糾偏器和自動液推器三項專利產品樣機,都已通過檢驗測量合格。

